|
|
| |
|
|
 |
| |
|
|
กกกก
 |
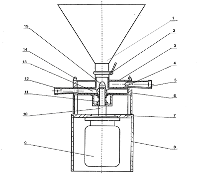
Structure
diagram of vertical type THJ-L machine
1. Inlet hopper 2. Regulating valve 3. Pump
crust I 4. Clapboard
5. Fluid inlet 6. Pump crust II 7. Motor cabinet
8. Enclosing board
9. Motor 10. Rotary shaft 11. Mechanical sealing
12. Material outlet
13. Impeller 14. Cover-shaped screw cap 15.
Screw cap |
 |
Structure
diagram of separated type THJ-F machine
1. Material inlet 2. Regulating valve
3. Fluid inlet
4. Bracket 5. Bearing 6. Stationary screw
7. Driven pulley 8. Pump body 9. Material
outlet
10. Motor 11. Stationary screw 12. Seat of
machine
|
|
|
| |
|
|